Enigma 2040 una oportunidad de inversión ética con narrativa irresistible.
-MAQUINA PARA CURTIR CUEROS.- ENIGMA 2040 ES UNA DEPURADORA QUE CURTE CUEROS, Y NO UNA CURTIEMBRE QUE DEPURA-
Luis do Rego
INVENTOR
LA REVOLUCIÓN EN EL CURTIDO DE CUEROS Y LA DEPURACIÓN INDUSTRIAL
A.- ENIGMA 2040
Bienvenido a la nueva era de la tecnología en la curtiembre para la produccion de cuero sostenible.
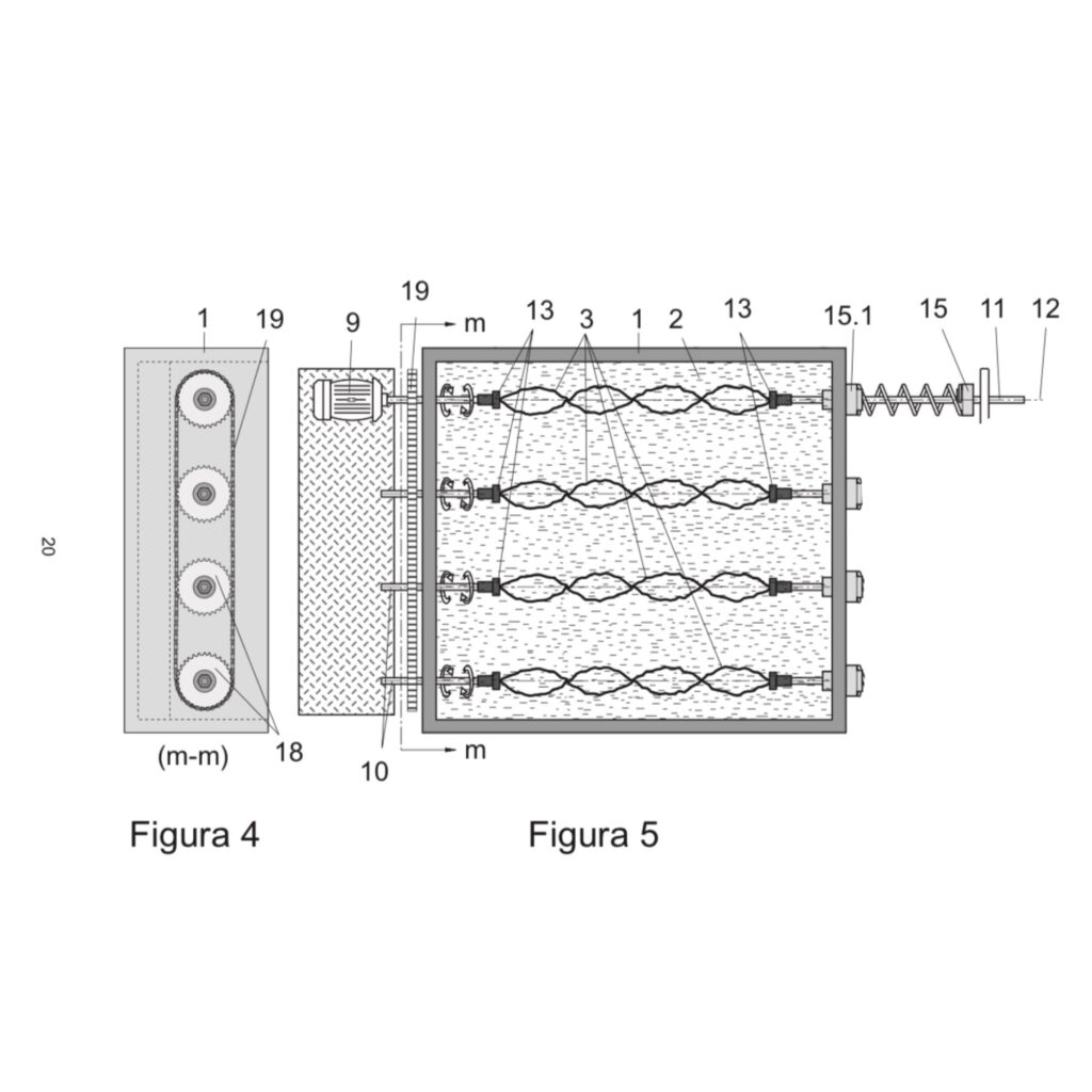
La Enigma 2040 es una máquina electromecánica innovadora que transforma el proceso tradicional de curtido de cueros al integrar técnicas avanzadas de depuración de aguas.
Con un diseño ecológico y eficiente, esta máquina no solo optimiza los procesos de producción sino que también reduce significativamente el impacto ambiental.
B.- Descripción Técnica:
La Enigma 2040 es una máquina electromecánica diseñada para la fabricación y transformación de pieles en cuero de manera sostenible. Combina procesos avanzados de curtido con depuración integrada, permitiendo a las empresas reducir el uso de agua, energía y productos químicos.
Con una estructura robusta y componentes de alta calidad, la Enigma 2040 está construida para durar y adaptarse a diversas necesidades industriales.
C.- Innovaciones Clave:
C1.- Depuración Integrada:
A diferencia de las máquinas tradicionales, la Enigma 2040 realiza el proceso de curtido y la depuración de aguas en un solo ciclo, reduciendo el desperdicio y minimizando el impacto ambiental.
C2.- Automatización Avanzada: Con tecnología de última generación, permite un control preciso de cada etapa del proceso, mejorando la calidad del producto final.
C3.- A diferencia de las máquinas tradicionales, la Enigma 2040 realiza el proceso de curtido y la depuración de aguas en un solo ciclo, reduciendo el desperdicio y minimizando el impacto ambiental.
C4.- Ahorro de Recursos: – Agua:
Reutilización de agua en cada ciclo de producción.
– Energía:
Consumo eficiente gracias a su diseño optimizado.
C5.- Mano de Obra:
Reducción de la necesidad de operarios gracias a la automatización avanzada.
C6.- Eficiencia Energética:
Consumo reducido de energía gracias a su diseño optimizado y a su capacidad de reciclar recursos durante el proceso.
C7.- Ventajas Competitivas
Comparativa con Métodos Tradicionales:
Mientras que las máquinas tradicionales requieren infraestructuras costosas y procesos largos, la Enigma 2040 permite ahorrar hasta un 90% en consumo de agua fresca y un 30% en productos químicos, aumentando la eficiencia en un 20% y reduciendo la contaminación al 100%.
D.- Beneficios Ambientales:
La Enigma 2040 reduce la huella de carbono de las curtiembres al disminuir la cantidad de residuos generados y optimizar el uso de recursos.
Este enfoque no solo protege el medio ambiente sino que también cumple con las regulaciones ambientales más estrictas a nivel mundial.
E.- Resultados de Campo: En pruebas piloto, la Enigma2040 ha demostrado ser más rápida y efectiva que las tecnologías tradicionales, con una reducción de residuos químicos y sólidos de hasta un 100%.
Especificaciones Técnicas:
Dimensiones: Adaptables a las necesidades del cliente. Capacidad de Producción: Ajustable según los requerimientos de la curtiembre. Consumo Energético: Eficiencia optimizada para un consumo mínimo. Materiales: Construida con acero inoxidable de alta resistencia y componentes de larga durabilidad
«La eficiencia de la Enigma 2040 nos ha permitido aumentar la producción sin comprometer la calidad. Además, el impacto ambiental reducido nos ha ayudado a cumplir con las normativas más estrictas.»
Testimonios de Clientes:
«Desde que implementamos cuero Enigma 2040 en nuestros zapatos, hemos visto que es una inversión que se paga sola en poco tiempo!» –
Francisco Sansó Sunkoy
Mercado y Aplicaciones
Sectores Industriales: La Enigma 2040 es ideal para empresas de curtiembre, moda, automotriz, y manufactura de cuero que buscan optimizar sus procesos y reducir su impacto ambiental.
Oportunidades de Mercado: Con más de 8,000 curtiembres a nivel mundial, el potencial de mercado para la Enigma 2040 es vasto. Las industrias de la moda y automotriz están en busca de soluciones más sostenibles, lo que amplía aún más las oportunidades comerciales.
Websites store cookies to enhance functionality and personalise your experience. You can manage your preferences, but blocking some cookies may impact site performance and services.
Essential cookies enable basic functions and are necessary for the proper function of the website.
Name
Description
Duration
Cookie Preferences
This cookie is used to store the user's cookie consent preferences.
30 days
Statistics cookies collect information anonymously. This information helps us understand how visitors use our website.
Google Analytics is a powerful tool that tracks and analyzes website traffic for informed marketing decisions.
Contains information related to marketing campaigns of the user. These are shared with Google AdWords / Google Ads when the Google Ads and Google Analytics accounts are linked together.
90 days
__utma
ID used to identify users and sessions
2 years after last activity
__utmt
Used to monitor number of Google Analytics server requests
10 minutes
__utmb
Used to distinguish new sessions and visits. This cookie is set when the GA.js javascript library is loaded and there is no existing __utmb cookie. The cookie is updated every time data is sent to the Google Analytics server.
30 minutes after last activity
__utmc
Used only with old Urchin versions of Google Analytics and not with GA.js. Was used to distinguish between new sessions and visits at the end of a session.
End of session (browser)
__utmz
Contains information about the traffic source or campaign that directed user to the website. The cookie is set when the GA.js javascript is loaded and updated when data is sent to the Google Anaytics server
6 months after last activity
__utmv
Contains custom information set by the web developer via the _setCustomVar method in Google Analytics. This cookie is updated every time new data is sent to the Google Analytics server.
2 years after last activity
__utmx
Used to determine whether a user is included in an A / B or Multivariate test.
18 months
_ga
ID used to identify users
2 years
_gali
Used by Google Analytics to determine which links on a page are being clicked
30 seconds
_ga_
ID used to identify users
2 years
_gid
ID used to identify users for 24 hours after last activity
24 hours
_gat
Used to monitor number of Google Analytics server requests when using Google Tag Manager