ENIGMA 2040: Las Cuatro Historias Fundacionales
El Descubrimiento del Canal
«Cuando el agua reveló sus secretos»
Ecuador – 2005
En las tierras altas de Tungurahua, donde los canales de riego serpentean entre cultivos ancestrales, José Luis y Mauricio realizaron una observación que cambiaría para siempre la industria del cuero. Durante una investigación sobre métodos tradicionales de procesamiento, decidieron sumergir una piel (y solo una piel) en un canal de riego local.
Lo que presenciaron desafió décadas de conocimiento industrial: el cuero, sometido únicamente al movimiento natural del agua corriente, comenzó a transformarse. Sin bombos giratorios, sin golpeteo mecánico, sin la maquinaria pesada que había definido la curtiembre por más de un siglo. Solo agua en movimiento, creando ondulaciones naturales que «aflojaban» las fibras de manera uniforme y eficiente.
«Era como si la naturaleza nos estuviera mostrando un camino que habíamos olvidado», recuerda Mauricio. «El agua no solo transportaba, también transformaba.»
Esta revelación se convirtió en la piedra angular del ENIGMA 2040: el movimiento controlado del líquido procesador podía reemplazar la acción mecánica tradicional, abriendo un universo de posibilidades para el procesamiento ecológico.

Lección Aprendida: La fuerza transformadora reside en el movimiento del medio, no en la máquina que lo contiene.
Los Maestros de Fez
«Sabiduría milenaria en fosas de barro»
Fez, Marruecos – 2007
Las curtidurías de Fez, patrimonio de la humanidad, guardaban secretos que la industria moderna había desestimado. José Luis viajó hasta estas instalaciones centenarias para estudiar métodos que habían permanecido inmutables durante generaciones.
En las fosas circulares de piedra, observó artesanos que procesaban cueros utilizando únicamente el movimiento manual del líquido. Sin electricidad, sin automatización, solo manos expertas que sabían exactamente cuándo y cómo agitar el medio procesador para lograr transformaciones extraordinarias.

Los maestros marroquíes le enseñaron que la clave no estaba en la intensidad del movimiento, sino en su ritmo y precisión. Cada tipo de piel requería un patrón específico de agitación, una danza líquida que solo se dominaba después de décadas de práctica.
«Ellos conocían el lenguaje del cuero», explica José Luis. «Podían leer las necesidades de cada piel simplemente observando cómo respondía al movimiento del líquido.»
Esta experiencia confirmó que las técnicas no mecanizadas no solo eran viables, sino que en muchos casos producían resultados superiores a los métodos industriales modernos.
Lección Aprendida: La maestría artesanal revela principios científicos que la tecnología moderna había pasado por alto.
El Primer Experimento
«Del tobogán a la revolución»

Laboratorio de Desarrollo – 2009
El primer prototipo del ENIGMA 2040 nació de una analogía infantil que se transformó en ingeniería avanzada. Mauricio propuso crear una máquina con forma de tobogán que permitiera al cuero «deslizarse» a través del proceso mientras el líquido circulaba en un sistema cerrado.
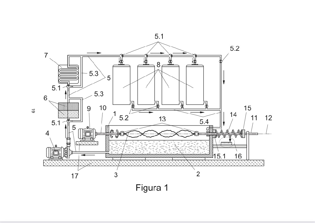
El diseño inicial era simple: un contenedor inclinado conectado por tuberías a una bomba que devolvía el líquido desde la parte inferior hasta la superior. Pero las primeras pruebas revelaron algo extraordinario: el sistema no solo funcionaba, sino que el líquido procesador mejoraba con cada ciclo de reutilización.
«Descubrimos que no estábamos desperdiciando nada», recuerda Mauricio. «Cada vez que el líquido pasaba por el proceso, se enriquecía con partículas no absorbidas que podían beneficiar al siguiente cuero.»
Este prototipo estableció los fundamentos del reciclaje integral: por primera vez en la historia de la curtiembre, era posible procesar pieles sin generar desechos líquidos. El sistema cerrado no era solo una innovación técnica, era una revolución ambiental.
Lección Aprendida: La reutilización no es solo conservación de recursos, es mejoramiento del proceso.
El Arte del Retorcimiento
«Dos manos, un cuero, infinitas posibilidades»
Taller Experimental – 2011
La observación más revolucionaria llegó de la técnica más simple. Durante pruebas de absorción de productos acondicionadores, José Luis y Mauricio decidieron experimentar con el retorcimiento manual del cuero, una práctica ocasional en algunos talleres artesanales.
Tomaron una piel por sus extremos y comenzaron a girarla en direcciones opuestas: José Luis hacia la izquierda desde la cabeza, Mauricio hacia la derecha desde la cola. El resultado fue inmediato y sorprendente: los productos se absorbían uniformemente en toda la superficie, la textura mejoraba notablemente, y el tiempo de procesamiento se reducía de manera drástica.
«Era como si el cuero cobrara vida», describe José Luis. «Cada fibra recibía exactamente lo que necesitaba, cuando lo necesitaba.»
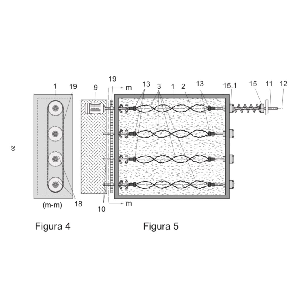
Este descubrimiento inspiró el mecanismo central del ENIGMA 2040: las mordazas giratorias que replican el retorcimiento manual pero con precisión automatizada. El sistema permite controlar velocidad, dirección y tensión, adaptándose a cada tipo de piel y proceso.
La técnica del retorcimiento no solo mejoraba la calidad final del cuero, sino que maximizaba la eficiencia en el uso de productos, reduciendo costos y impacto ambiental simultáneamente.

Lección Aprendida: La perfección tecnológica a menudo reside en la simplicidad perfeccionada.
La Convergencia
De Cuatro Historias a Una Innovación
Estas cuatro experiencias investigativas convergieron en el diseño final del ENIGMA 2040:
Del canal de riego: El principio de circulación continua
De las fosas marroquíes: La maestría en el control del movimiento líquido
Del sistema tobogán: La arquitectura de reciclaje integral
Del retorcimiento manual: El mecanismo de transformación optimizada
Cada historia aportó un elemento esencial para crear una máquina que no solo procesara cueros, sino que redefiniera completamente la relación entre industria y sostenibilidad.


18 años después, el ENIGMA 2040 representa la materialización de estas cuatro revelaciones en una sola tecnología revolucionaria que promete transformar la industria del cuero hacia un futuro verdaderamente sostenible.
«La innovación real no inventa el futuro, redescubre principios eternos con ojos nuevos.»
– José Luis do Rego Fernández y Mauricio Antonio Castro Hervas






«Nuestros Visionarios».
Bios: Luis do Rego (experiencia cazadoras/curtiembres), Mauricio Castro (raíces agrícolas/ivestigacion).
« PROTOTIPO TRABAJANDO»
Enigma 2040.-
Un legado nacido de la sabiduría y la conciencia ecológica.
Más que una innovación tecnológica, Enigma 2040 es un acto de generosidad intergeneracional: un puente entre la tradición del curtido romano y el futuro sostenible del cuero.
Reducimos hasta un 97% el consumo de agua, eliminamos tóxicos y emisiones, y promovemos una industria que prioriza la vida sobre el lucro.
Cada piel tratada con Enigma 2040 es una huella menos en los ríos, un respiro para los ecosistemas y una oportunidad para un trabajo digno y circular.
Nuestro legado no busca riqueza, sino equilibrio: cuidar la salud del planeta y de quienes lo habitan.
«Un Legado para el Planeta».
9.4M m³ agua ahorrada/año, 35M t CO2 ↓, 65K empleos.
Enigma 2040 crea su propia economía digital regenerativa, donde los participantes son dueños de su huella limpia.
![]()
